Okovje omogoča izvlek in dvig dodatnega ležišča.
SESTAVNICA:
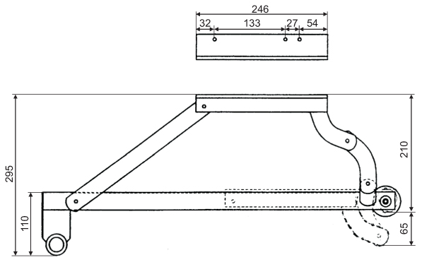
1 par mehanizem NL - 201 kos vezna cev dolžine x2 kos vijak m 8×502 kos zaustavljač R-30
Mehanizem je medsebojno povezan z vezno cevjo poljubne dolžine
Več o spletnih piškotkih Copyright © 2014. SMD Skaza | Slovenj Gradec